Le parcours du débutant - remise en état d'un MT12

:arrow: Avant de poster suivre les conseils :viewtopic.php?t=2114/consulter-avant-de-poster

Merci de compléter votre profil: région, véhicule...
Avatar du membre
Kreuzhof
Amicaliste
Messages : 5403
Enregistré le : ven. 4 nov. 2016 20:02
Localisation : Bavière/Dauphiné
Adhérant : 611

Re: Le parcours du débutant - remise en état d'un MT12

Message par Kreuzhof »

Fabrication d'un petit extracteur sur mesure pour sortir l'axe.
Extracteur 01.jpg
Extracteur 01.jpg (232.61 Kio) Vu 7329 fois
Extracteur 02.jpg
Extracteur 02.jpg (195.82 Kio) Vu 7329 fois
MT12 de 1982 - Faut que ça tourne!
Rénovation d'un MT12 viewtopic.php?t=461
Avatar du membre
jolijojo
Administrateur du site
Messages : 2570
Enregistré le : lun. 24 juil. 2017 15:16
Localisation : Ardèche
Adhérant : 591
Contact :

Re: Le parcours du débutant - remise en état d'un MT12

Message par jolijojo »

:idea: ;)
Avatar du membre
Kreuzhof
Amicaliste
Messages : 5403
Enregistré le : ven. 4 nov. 2016 20:02
Localisation : Bavière/Dauphiné
Adhérant : 611

Re: Le parcours du débutant - remise en état d'un MT12

Message par Kreuzhof »

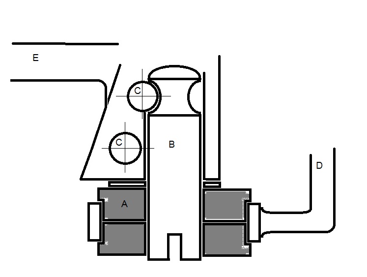
Bon, pour bien comprendre le probléme, j'ai fait un schéma. Je pense avoir compris le systéme.

Sur le MT12, le bras oscillant a un axe rapporté (B) qui est dans une pince du bras oscillant (E) est serré par les vis (C) dont une sert de butée axiale.
L'axe repose ensuite sur 2 silenc blocs (A) montés dans le cadre du panier (D)
Schema axe rapporté.jpg
Schema axe rapporté.jpg (43.71 Kio) Vu 7311 fois
Mon axe, bien que libéré des vis (C), paix à leurs âmes, ne vient pas. Il a été monté sans graisse et il est completement rouillé dans le bras oscillant.
5 mm d'acier (à ferrer les ânes certes) ne l'ont pas fait bouger et la plaque a plié.
dépose 08.jpg
dépose 08.jpg (186.96 Kio) Vu 7311 fois
J'ai doublé la mise avec 2x5mm et bien que dalle. Le truc est coincé à mort.

Bon, je l'ai laissé en contrainte et aspergé de WD40. On verra bien. Si cette nuit j'entends "BANG!" sur le parking, tout va bien. Par contre la bagnole du voisin.... :lol:

Sinon, il faudra détruire le second silent-bloc et chauffer.
MT12 de 1982 - Faut que ça tourne!
Rénovation d'un MT12 viewtopic.php?t=461
Avatar du membre
popov1100
Amicaliste
Messages : 737
Enregistré le : mar. 27 oct. 2015 20:34
Localisation : saint-omer
Adhérant : 647

Re: Le parcours du débutant - remise en état d'un MT12

Message par popov1100 »

j'ai du chauffer au chalumeau de couvreur, celui qui se branche sur une bouteille de propane sans détandeur
pour qu'il sorte

la douille en caoutchouc, est en bon etat.....
pas la peinture ;-)
Avatar du membre
Kreuzhof
Amicaliste
Messages : 5403
Enregistré le : ven. 4 nov. 2016 20:02
Localisation : Bavière/Dauphiné
Adhérant : 611

Re: Le parcours du débutant - remise en état d'un MT12

Message par Kreuzhof »

Je pense que je vais devoir passer par là.
Et si ca resiste encore, on a ca :twisted:
IMG_0835.JPG
IMG_0835.JPG (563.23 Kio) Vu 7281 fois
MT12 de 1982 - Faut que ça tourne!
Rénovation d'un MT12 viewtopic.php?t=461
Avatar du membre
popov1100
Amicaliste
Messages : 737
Enregistré le : mar. 27 oct. 2015 20:34
Localisation : saint-omer
Adhérant : 647

Re: Le parcours du débutant - remise en état d'un MT12

Message par popov1100 »

nous zavons les moyens de fous faire parler !!!!
Avatar du membre
Kreuzhof
Amicaliste
Messages : 5403
Enregistré le : ven. 4 nov. 2016 20:02
Localisation : Bavière/Dauphiné
Adhérant : 611

Re: Le parcours du débutant - remise en état d'un MT12

Message par Kreuzhof »

Carrément. :mrgreen:

Mais on va quand même essayer une arrache à inertie d'abord. ;)
MT12 de 1982 - Faut que ça tourne!
Rénovation d'un MT12 viewtopic.php?t=461
Avatar du membre
popov1100
Amicaliste
Messages : 737
Enregistré le : mar. 27 oct. 2015 20:34
Localisation : saint-omer
Adhérant : 647

Re: Le parcours du débutant - remise en état d'un MT12

Message par popov1100 »

j'ai utilisé un manchon de plomberie en fonte pour faire un parfait extracteur
sur le boulon, vissé dans la piece à extraire, j'ai mis qq coups de clé à choc, ce qui, avec l'action combinée du chalumeau + degripant, a permis une extraction presque simple
Avatar du membre
Kreuzhof
Amicaliste
Messages : 5403
Enregistré le : ven. 4 nov. 2016 20:02
Localisation : Bavière/Dauphiné
Adhérant : 611

Re: Le parcours du débutant - remise en état d'un MT12

Message par Kreuzhof »

Impeccable

Il faut que je trouve une masse qui puìsse coulisser le long de la vis.
MT12 de 1982 - Faut que ça tourne!
Rénovation d'un MT12 viewtopic.php?t=461
Avatar du membre
popov1100
Amicaliste
Messages : 737
Enregistré le : mar. 27 oct. 2015 20:34
Localisation : saint-omer
Adhérant : 647

Re: Le parcours du débutant - remise en état d'un MT12

Message par popov1100 »

Image

une idée, peut etre ?
par contre faudra prendre le disque à deux mains

autre idée, sans le manche bien sur
Image
Répondre

Retourner vers « Présentations des membres et de leur(s) projet(s) »