Page 106 sur 292
Re: Le parcours du débutant - remise en état d'un MT12
Posté : sam. 13 oct. 2018 13:54
par Kreuzhof
Fabrication d'un petit extracteur sur mesure pour sortir l'axe.

- Extracteur 01.jpg (232.61 Kio) Vu 7340 fois

- Extracteur 02.jpg (195.82 Kio) Vu 7340 fois
Re: Le parcours du débutant - remise en état d'un MT12
Posté : sam. 13 oct. 2018 15:17
par jolijojo
Re: Le parcours du débutant - remise en état d'un MT12
Posté : sam. 13 oct. 2018 19:10
par Kreuzhof
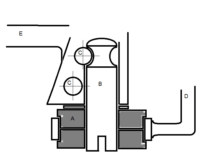
Bon, pour bien comprendre le probléme, j'ai fait un schéma. Je pense avoir compris le systéme.
Sur le MT12, le bras oscillant a un axe rapporté (B) qui est dans une pince du bras oscillant (E) est serré par les vis (C) dont une sert de butée axiale.
L'axe repose ensuite sur 2 silenc blocs (A) montés dans le cadre du panier (D)

- Schema axe rapporté.jpg (43.71 Kio) Vu 7322 fois
Mon axe, bien que libéré des vis (C), paix à leurs âmes, ne vient pas. Il a été monté sans graisse et il est completement rouillé dans le bras oscillant.
5 mm d'acier (à ferrer les ânes certes) ne l'ont pas fait bouger et la plaque a plié.

- dépose 08.jpg (186.96 Kio) Vu 7322 fois
J'ai doublé la mise avec 2x5mm et bien que dalle. Le truc est coincé à mort.
Bon, je l'ai laissé en contrainte et aspergé de WD40. On verra bien. Si cette nuit j'entends "BANG!" sur le parking, tout va bien. Par contre la bagnole du voisin....
Sinon, il faudra détruire le second silent-bloc et chauffer.
Re: Le parcours du débutant - remise en état d'un MT12
Posté : sam. 13 oct. 2018 23:22
par popov1100
j'ai du chauffer au chalumeau de couvreur, celui qui se branche sur une bouteille de propane sans détandeur
pour qu'il sorte
la douille en caoutchouc, est en bon etat.....
pas la peinture

Re: Le parcours du débutant - remise en état d'un MT12
Posté : dim. 14 oct. 2018 09:32
par Kreuzhof
Je pense que je vais devoir passer par là.
Et si ca resiste encore, on a ca

- IMG_0835.JPG (563.23 Kio) Vu 7292 fois
Re: Le parcours du débutant - remise en état d'un MT12
Posté : dim. 14 oct. 2018 14:45
par popov1100
nous zavons les moyens de fous faire parler !!!!
Re: Le parcours du débutant - remise en état d'un MT12
Posté : dim. 14 oct. 2018 22:51
par Kreuzhof
Carrément.
Mais on va quand même essayer une arrache à inertie d'abord.

Re: Le parcours du débutant - remise en état d'un MT12
Posté : lun. 15 oct. 2018 07:40
par popov1100
j'ai utilisé un manchon de plomberie en fonte pour faire un parfait extracteur
sur le boulon, vissé dans la piece à extraire, j'ai mis qq coups de clé à choc, ce qui, avec l'action combinée du chalumeau + degripant, a permis une extraction presque simple
Re: Le parcours du débutant - remise en état d'un MT12
Posté : lun. 15 oct. 2018 18:46
par Kreuzhof
Impeccable
Il faut que je trouve une masse qui puìsse coulisser le long de la vis.
Re: Le parcours du débutant - remise en état d'un MT12
Posté : lun. 15 oct. 2018 19:08
par popov1100
une idée, peut etre ?
par contre faudra prendre le disque à deux mains
autre idée, sans le manche bien sur
